无障碍
简体版
|
繁体版
支持IPv6
智能问答
网站首页
魅力兴安
聚焦兴安
公共服务
政府信息公开
社情民意
网上办事
27323654
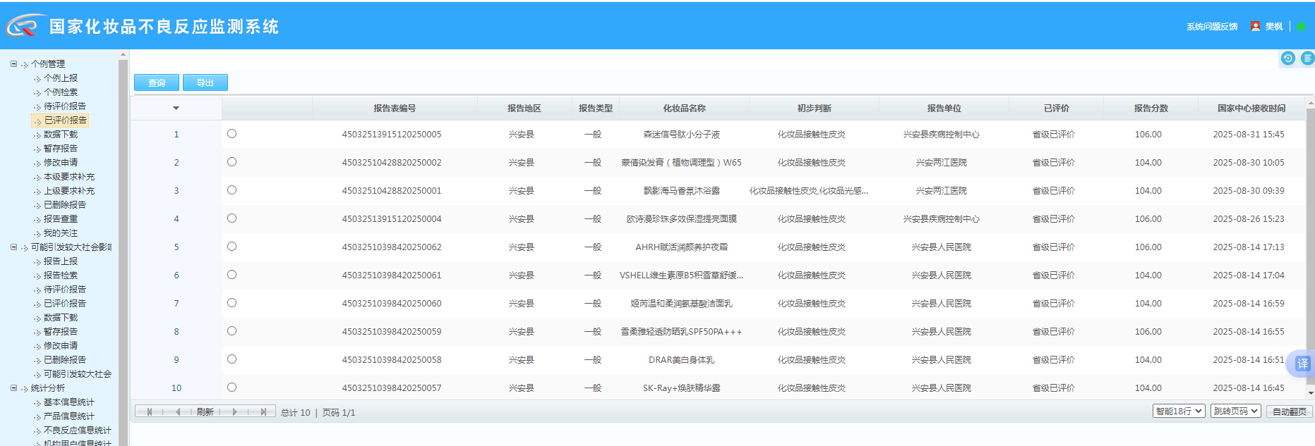
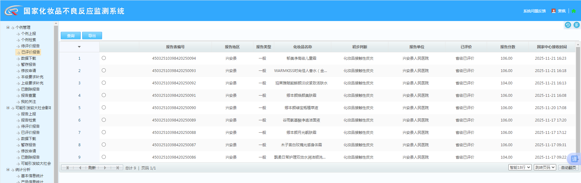
2025年8月—12月化妆品不良反应报表
20
兴安县市场监督管理局
2026-01-05
240916
不良反应监测信息
政府信息公开制度
政府信息公开指南
法定主动公开内容
基础信息公开
重点信息公开
特色栏目
政府信息公开目录
依申请公开
我要查询
我要申请
政府信息公开年度报告
政策
政策文件库
2025年8月—12月化妆品不良反应报表
发布日期: 2026-01-05 11:00
文件下载:
2025年8月——12月化妆品不良反应报表 (1).png
2025年8月——12月化妆品不良反应报表 (2).png
2025年8月——12月化妆品不良反应报表 (3).png
2025年8月——12月化妆品不良反应报表 (4).png
2025年8月——12月化妆品不良反应报表 (5).png
关联文件: