无障碍
简体版
|
繁体版
支持IPv6
智能问答
网站首页
魅力兴安
聚焦兴安
公共服务
政府信息公开
社情民意
网上办事
26655719
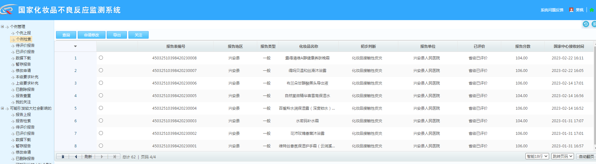
2023年兴安县化妆品不良反应监测结果(四)
20
兴安县市场监管局
兴安县市场监管局
2023-07-26
240916
不良反应监测信息
政府信息公开制度
政府信息公开指南
法定主动公开内容
基础信息公开
重点信息公开
特色栏目
政府信息公开目录
依申请公开
我要查询
我要申请
政府信息公开年度报告
政策
政策文件库
2023年兴安县化妆品不良反应监测结果(四)
发布日期: 2023-07-26 16:36
2023年兴安县化妆品不良反应监测结果(四),
详见附件。
文件下载:
2023年兴安县化妆品不良反应监测结果(四).png
关联文件: