崔家乡关于印发2025年稻谷生产者售粮补贴
及粮食收购补贴实施方案的通知
各村委,乡直有关单位:
经乡人民政府同意,现将《崔家乡2025年稻谷生产者售粮补贴及粮食收购补贴实施方案》印发给你们,请认真贯彻执行。
崔家乡人民政府
2025年7月22日
崔家乡2025年稻谷生产者售粮补贴和收购
补贴实施方案
为支持深化稻谷收储制度和价格形成机制改革,切实保障农民种粮收益基本稳定,根据《兴安县人民政府关于印发2025年稻谷生产者售粮补贴及粮食收购补贴实施方案的通知》(兴政函〔2025〕100号)文件要求,结合我乡实际,制定本实施方案。
一、总体要求
坚持以习近平新时代中国特色社会主义思想为指导,全面贯彻党的二十大和二十届二中、三中全会精神,认真贯彻落实习近平总书记关于国家粮食安全的重要论述和关于广西工作论述的重要要求,全面落实粮食安全党政同责,统筹实施好稻谷补贴政策,保障稻谷生产者基本收益,调动农民种粮积极性,实现农民增收、农业增效,确保不出现农民“卖粮难”问题,全面完成粮食储备收购任务,持续增强粮食供给保障能力,保障国家粮食安全。
二、补贴资金的使用
(一)补贴资金来源和用途
中央财政下达的2025年目标价格补贴(稻谷)资金以及历年结余资金等,该类补贴资金主要支持以下内容:
实施稻谷生产者售粮补贴。为增强政府对粮食市场宏观调控能力,确保粮食安全党政同责得到落实,同时为鼓励和保护农民种粮积极性,确保稻谷生产者真正得到实惠,对交售粮食的稻谷生产者给予售粮补贴(以下简称稻谷生产者售粮补贴),以确保农民增收、农业增效。
(二)补贴对象和范围
在我乡从事稻谷生产,按照粮食收购计划自主售粮或委托售粮给粮食收购企业的农户、专业大户、家庭农场、农民合作社、粮食产后服务中心、农业企业等种粮主体(以下简称“粮食生产经营者”)。
2025年在我乡进行粮食收购的粮食主产村委。
(三)补贴标准
稻谷生产者售粮补贴标准:普通稻每公斤补贴0.32元,优质稻每公斤补贴0.36元。
(四)主要实施任务
稻谷生产者售粮补贴及粮食收购补贴主要实施任务。粮食收购总量为4000吨,其中:普通稻2500吨,优质稻1500吨(含专用稻)。
(五)补贴资金的兑现
1. 补贴资金的兑现。根据《广西壮族自治区财政厅 广西壮族自治区发展和改革委员会 广西壮族自治区农业农村厅 广西壮族自治区粮食和物资储备局关于进一步加强目标价格补贴资金管理的通知》(桂财建〔2023〕69号)、《广西壮族自治区财政厅 广西壮族自治区农业农村厅等六部门关于印发广西惠民惠农财政补贴资金“一卡通”发放管理办法(试行)的通知》(桂财规〔2022〕7号)和《中共广西壮族自治区纪委机关、广西壮族自治区财政厅等八部门关于加快推进惠民惠农财政补贴资金“一卡通”管理工作的通知》(桂财监〔2022〕18号)等有关规定,按照“谁主管、谁负责”原则,应兑现的稻谷补贴资金,由县财政部门将补贴资金从财政专户核拨给县粮食和储备主管部门(代发金融机构“一卡通”虚拟账户)后,县粮食和储备主管部门会同财政部门根据国库集中支付有关规定兑付给补贴对象,原则上全部通过广西惠民惠农财政补贴资金“一卡通”管理系统(以下简称“一卡通”管理系统)发放,不允许现金兑付,严禁采取实物补贴方式发放资金。其中,发放给农民合作社、家庭农场、农业企业等单位的补贴要通过单位对公账户发放。
2. 补贴资金发放时间要求。必须采取切实有效措施,确保稻谷补贴资金及时足额发放到位。稻谷生产者售粮补贴资金要在2026年2月10日前发放完毕。
三、职责分工
(一)严格落实粮食安全党政同责,加强对稻谷补贴发放和稻谷收购工作的统筹组织,乡农业服务中心负责指导督促各村委完成稻谷收购年度目标任务等工作。
(二)乡人民政府结合辖区实际,及时制定本辖区稻谷补贴实施方案;负责将县级下达的粮食收购计划分解到村委和种粮大户,并对分解计划的真实性负责,督促村委会将粮食收购计划合理安排到稻谷生产者,及时汇总《售粮计划安排表》等报送县粮食和储备行政管理部门,并及时组织有关人员将补贴对象所有信息录入“一卡通”管理系统。
(三)各村委负责将粮食收购计划落实到稻谷生产者,并填制《售粮计划安排表》,经在村务公开栏公示3天无异议,一式五份报乡人民政府审核。对乡人民政府已安排种粮主体售粮计划的不再重复安排。
四、工作要求
(一)加强组织实施。严格落实粮食安全党政同责要求,党委和政府是稻谷补贴项目实施的责任主体,要切实加强组织领导,优化完善补贴发放和收购方案,细化实化工作措施,保障补贴发放和收购工作顺利开展。
(二)严格制度执行。各村委要做好政策宣传工作,科学制定宣传方案,多渠道、多方式开展稻谷补贴政策宣传,切实提高政策知晓度。按照职责分工和“谁主管、谁负责、谁公开”的原则,做好补贴信息公开公示工作,主动接受群众监督和舆论监督。发放到户的补贴情况应在村级进行公示,公示时间不少于5个工作日,确保补贴政策公开透明;村级公示应采取线上线下相结合的方式开展,提高群众知晓度。要将粮食收购计划分解任务进行张榜公示(公示要求详见工作流程)。
(三)严明申报纪律。申报者必须如实填报稻谷售卖数量,对填报的数据和信息的真实性、准确性负责。对弄虚作假、挤占、截留、挪用和套取补贴资金等违法违规行为,依法依规给予严肃处理。建立个人诚信记录,骗取、挪用和套取补贴资金等行为记入个人失信记录。
严禁售粮主体违规采购稻谷交售,违者一经查实,将按照违反《粮食流通管理条例》所禁止的套取粮食价差和财政补贴行为严肃处理。
附件:1.崔家乡2025年稻谷生产者售粮补贴及粮食收购补贴
实施工作流程
2.兴安县崔家乡2025年粮食收购计划安排表
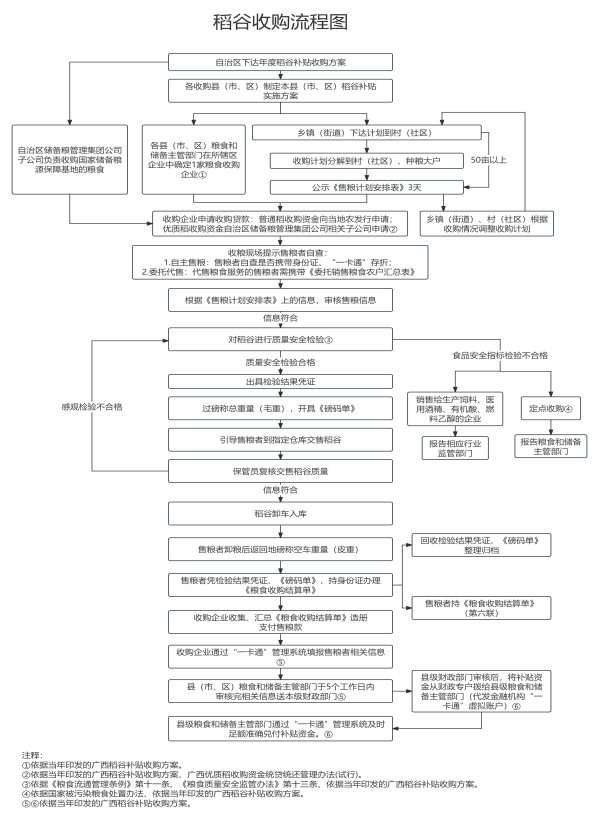
3.稻谷收购流程图
附件1
崔家乡2025年稻谷生产者售粮补贴
及粮食收购补贴实施工作流程
一、粮食收购的品种、质量、收购价格和收购时间
(一)收购品种、质量要求:粮食收购的品种为普通稻、优质稻(含专用稻)。收购普通稻质量指标应符合国家标准稻谷(GB 1350)中等以上,优质稻质量指标应符合国家优质稻谷标准(GB/T 17891)三级以上,其中普通稻和优质稻(含专用稻)谷外糙米含量指标按≤4%、优质稻直链淀粉指标按《广西壮族自治区粮食和物资储备局关于调整2022年度自治区储备优质稻谷直链淀粉含量(干基)指标范围的通知》(桂粮发〔2022〕71号)相关规定执行。鉴于专用稻主要用于米粉加工用粮,质量指标按国家标准稻谷(GB 1350)中等以上要求执行。食品安全指标均须符合国家限量标准要求。
(二)收购价格:普通稻2.7元/公斤,优质早稻(含专用稻)2.78元/公斤,优质晚稻3.14元/公斤。鉴于各地种植的优质稻品种繁多,品质差异较大,对品质较优、较差的品种,收购价格可适当浮动(上下浮动比例不超过5%由收购企业商自治区储备粮集团公司子公司确认,如超过5%须报自治区储备粮集团公司审批,下浮后的收购价格不能低于国家下达的2025年稻谷最低收购价)。优质稻收购价格由粮食收购企业报当地粮食和储备主管部门、市场监管部门备案。
(三)收购时间:普通稻为2025年7月21日至2025年10月31日,优质稻为2025年7月21日至2026年1月31日。
二、粮食收购计划的分解
我乡在充分考虑小农户利益的基础上,将县级下达的粮食收购计划直接分解到村委和种植面积50亩以上(双季稻种植面积为25亩以上)的种粮主体。经公示无异议后的《售粮计划安排表》,由乡政府研究审核盖章,印发各村委,并送县粮食和储备主管部门、财政部门、粮食收购企业。
三、粮食生产经营者售粮方式
粮食生产经营者对所生产的粮食按《售粮计划安排表》自主向收购企业售粮。鉴于当前我乡不少农村家庭缺少售粮劳动力和运输工具等实际情况,粮食生产经营者可开展委托代售粮食服务。
四、粮食收购工作要求
(一)在粮食收购过程中,要坚持公开、公平、公正的原则。鼓励粮食生产经营者积极按要求自愿售粮,不能用行政等手段强迫其售粮。
(二)粮食生产经营者开展委托代售粮食服务过程中可以获得相应合理的劳务费用。
五、补贴资金兑现方式
按照“谁主管、谁负责”原则,收购企业于粮食生产经营者售粮后的5个工作日内,审核开展代售粮食服务的生产经营主体是否已将代垫售粮补贴款转入委托售粮者“一卡通”银行账户,在“一卡通”管理系统填写实际交售的粮食品种、数量、补贴金额等信息上报县粮食和储备主管部门;县粮食和储备主管部门于5个工作日内审核完成相关信息后送县财政部门,重点审核代售粮食服务的生产经营主体垫付售粮补贴情况;在材料齐全、信息准确的情况下财政部门原则上应于3个工作日内将补贴资金从财政专户核拨给粮食和储备主管部门(代发金融机构“一卡通”虚拟账户),县粮食和储备主管部门应于2个工作日内通过“一卡通”管理系统发放至补贴对象或代售粮食服务的生产经营主体“一卡通”银行账户。
1. 粮食生产经营者自主售粮的,售粮补贴直接拨付到“一卡通”银行账户。
2. 对代售粮食服务的生产经营主体,由收购企业协助提供委托售粮农户在“一卡通”管理系统中的银行账户,代售粮食服务的生产经营主体(同时为实际种粮主体)已垫付售粮补贴的,须提供委托售粮者签字按手印确认的《委托售粮汇总表》,内容包括生产经营主体的信息、委托销售稻谷农户姓名及住址、售粮品种及数量、稻谷收购价格、已收售粮补贴款、农户“一卡通”银行账号、联系电话等,以及垫付的售粮补贴转入委托售粮者的“一卡通”银行转账凭证,才可以通过“一卡通”管理系统申领垫付的稻谷生产者售粮补贴。除在市场监管部门注册并在售粮补贴对象范围内的种粮主体外,其他经营主体开展代售服务时均不可申领和垫付售粮补贴。
附件2
兴安县崔家乡2025年粮食收购计划安排表
单位:原粮、吨
|
村委(专业大户、农民合作社) |
粮食收购计划(吨) | ||
|
合计 |
普通籼稻 |
优质稻 (含专用稻) | |
|
粉山村委 |
565 |
565 |
0 |
|
高泽村委 |
180 |
180 |
0 |
|
长冲村委 |
50 |
50 |
0 |
|
崔家村委 |
50 |
50 |
0 |
|
上塘村委 |
375 |
375 |
0 |
|
兴安县山之泉水稻种植专业合作社 |
2100 |
600 |
1500 |
|
兴安县教书水稻种植家庭农场 |
680 |
680 |
0 |
|
小计 |
4000 |
2500 |
1500 |
备注:各村委计划数含农户传统交粮习惯跨行政区域售粮数量。
附件3

文件下载:
关联文件: